OPPO折叠新专利公布:分级悬停能力大增
快科技7月28日消息,根据天眼查数据显示,2025年3月14日,OPPO广东移动通信有限公司公布了一项名为“扭力组件、折叠装置及电子设备”的专利,申请公布号为CN119616991A。
该专利涉及可弯折结构技术领域,通过创新设计提升折叠设备的使用体验和耐用性。
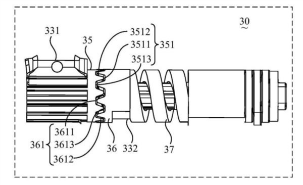
专利显示,该扭力组件包括主动件、被动件、第一啮合件、第二啮合件和复位件。
通过独特的啮合机制,第一啮合件与第二啮合件可在多个啮合位置之间切换,实现分级悬停功能。
这一设计不仅提升了折叠设备的灵活性,还显著降低了部件的磨损率,延长了设备的使用寿命。
分级悬停功能意味着用户可以根据需求将设备停在不同角度,无论是观看视频、进行视频通话还是进行多任务操作,都能获得更便捷的体验。
此外,该专利还通过减少部件的持续磨损,提升了折叠设备的可靠性和耐用性。
OPPO此次公布的专利展示了其在折叠屏技术领域的持续创新和领先地位,为未来折叠设备的发展提供了新的方向。
版权声明
部分文章来自互联网,版权归原作者所有,文章内容仅代表作者观点,不代表本站立场,本平台仅提供信息存储服务。
相关文章
- 长城全新坦克400官宣11月6日上市:预售价30.98万-32.98万元
- 《GTA 5》莱斯特演员:《GTA 6》若定价100美元也会是物有所值
- 特斯拉晒出 Cybercab 实车,据称部分组件已进入量产状态
- AMD 承认 Zen 5 处理器存在 RDSEED 缺陷,将通过微码更新修复
- 吉利汽车10月销量超30万辆破单月纪录,银河提前达成年销百万目标
- 丰田推出Kids Mobi自动驾驶概念车:专为儿童打造,还能陪你聊天
- 马斯克最新承诺:2025 年底演示会“飞”的特斯拉 Roadster
- 极氪科技 10 月销量 61636 台:同比增长 9.8%,单月首破 6 万台
- 你的显卡还能再战:AMD 宣布继续为RX 5000/6000系列提供全面支持
- 30 万元以上中国品牌销量最高纯电车型,第 30 万台蔚来 ES6 下线
作者文章
- 长城全新坦克400官宣11月6日上市:预售价30.98万-32.98万元 2025-11-01 21:09
- 《GTA 5》莱斯特演员:《GTA 6》若定价100美元也会是物有所值 2025-11-01 21:08
- 特斯拉晒出 Cybercab 实车,据称部分组件已进入量产状态 2025-11-01 21:07
- AMD 承认 Zen 5 处理器存在 RDSEED 缺陷,将通过微码更新修复 2025-11-01 21:05
- 吉利汽车10月销量超30万辆破单月纪录,银河提前达成年销百万目标 2025-11-01 21:04
热门
- 1 澎湃OS 3正式版:小米15/REDMI K80系列率先升级,你升级了吗? 就在刚刚,小米正式打响了澎湃OS 3大规模普及的“第一枪”,官方宣布澎湃OS 3正式版首批推送已全面开启。覆盖机型包括炙手可热的小米15全系(小米15、小米15 Pro、小米15S Pro、小米15 Ultra)以及性能旗舰REDMI K8...
- 2 “亚洲第一长洞”贵州双河洞已发现52具大熊猫化石 近日,贵州绥阳双河洞第24次国际洞穴科学考察成果发布会在双河洞国家地质公园举行。在本次科考中,科研人员新发现6具大熊猫化石,目前,双河洞已发现52具大熊猫化石,成为全球发现大熊猫化石数量最多的地方。...
- 3 词语解析:豁达先生是打什么生肖豁达先生是什么生肖,猜一最佳正确词语梳理解释 "豁达先生"的生肖尚未确定,但根据用户提供的上下文和关键词分析,可能需要进一步验证或补充相关资料以准确回答,关于如何猜最佳正确词语,通常需要结合上下文、语境和词语的使用频率来选择,可能需要更多具体信息或例子来支持解释。豁...
- 4 vivo OriginOS 6 首批公测招募 11 月初启动,适配机型已公布 IT之家 10 月 23 日消息,vivo 今日宣布 OriginOS 6 首批公测招募 11 月初启动,报名时间及参与方式后续将在 @OriginOS原系统 官方账号公布。IT之家附适配机型如下:2025 年 11 月vivo X Fol...
- 5 华为鸿蒙 HarmonyOS 6.0.0.108 SP2 Developer 版本推送 10 月 20 日消息,华为鸿蒙 HarmonyOS 6.0.0.108 SP2 Developer 版本今日开启推送,系统包大小约 1.64GB,覆盖 Mate 70 / 60 、Pura 80 / 70 等系列机型。据介绍,本次更新优...
- 6 手机周边份额再次出炉:小米第二,华为仅排第四! 随着双11的临近,手机市场中的战火愈演愈烈,甚至可以说每年的手机市场就像一场没有硝烟的战争。但是,每次有媒体统计市场份额的时候,可以很清晰看出厂商之间的差异化。就在最近,W41(10月6日至10月12日)的国内手机市场份额数据新鲜出炉,结果...
- 7 因“语音通话表现不符宣传”,苹果旗下 Beats 耳机面临集体诉讼 IT之家 10 月 25 日消息,苹果旗下的 Beats 无线耳机产品近期因“语音通话表现不符宣传”而卷入一场“潜在的集体诉讼”, 该诉讼于今年 8 月在加利福尼亚州提交,原告指控苹果旗下 Beats Fit Pro、Beats Solo...
- 8 刘思慕透露《热血无赖》真人电影剧本完成,即将开拍 10 月 20 日消息,演员刘思慕昨天在 X 平台发文,透露《热血无赖》游戏改编真人电影的最新动向。刘思慕表示,他们团队已经完成了《热血无赖》真人电影的剧本,为了庆祝他特意放出自家的“懒狗”(与游戏英语“sleeping dogs”双关)...
- 9 团魂!梁靖崑3-2大逆转日本队激动落泪,王楚钦摸大胖脑袋一脸慈祥 10月15日消息,10月15日,2025年乒乓球亚锦赛男团半决赛,由王楚钦、梁靖崑、林诗栋组成的中国队,让2追3以3-2逆转战胜日本队,成功晋级决赛!当梁靖崑最后决胜盘反败为胜之后,忍不住激动落泪,而王楚钦赶紧上前摸了摸大胖的头,表示安抚。...
- 10 中核集团AI重现杨振宁邓稼先最后一次会面:二人挥手那一刻 泪目了! 10月19日消息,昨日,著名物理学家、诺贝尔物理学奖获得者、中国科学院院士、清华大学教授、清华大学高等研究院名誉院长杨振宁先生,因病在北京逝世,享年103岁。随后,中国核工业集团用AI重现了杨振宁与邓稼先最后一次会面,并配文:跨越时空,再赴...
最新文章
- 长城全新坦克400官宣11月6日上市:预售价30.98万-32.98万元 2025-11-01 21:09
- 《GTA 5》莱斯特演员:《GTA 6》若定价100美元也会是物有所值 2025-11-01 21:08
- 特斯拉晒出 Cybercab 实车,据称部分组件已进入量产状态 2025-11-01 21:07
- AMD 承认 Zen 5 处理器存在 RDSEED 缺陷,将通过微码更新修复 2025-11-01 21:05
- 滕州华润燃气通知! 2025-11-01 21:05
- 吉利汽车10月销量超30万辆破单月纪录,银河提前达成年销百万目标 2025-11-01 21:04
- 滕州上善大道南段区域道路施工启动了! 2025-11-01 21:03
- 丰田推出Kids Mobi自动驾驶概念车:专为儿童打造,还能陪你聊天 2025-11-01 21:03
- 滕州善国路隔离带的458株苗木“绿色迁徙”→ 2025-11-01 21:02
- 马斯克最新承诺:2025 年底演示会“飞”的特斯拉 Roadster 2025-11-01 18:36
最新资讯
- 比亚迪 2026 款夏上市发布会定档 11 月 4 日11-01
- 全新宝马M3旅行版上市:94.39万元,530马力3.0T双涡轮大心脏加持11-01
- 新型人工肌肉问世:由 AI 驱动“学习”人类动作,既自然又灵敏11-01
- 奇瑞集团 10 月销量 28.1 万辆同比增长 3.3%,智界品牌 12810 辆11-01
- 《GTA 5》莱斯特演员:《GTA 6》若定价100美元也会是物有所值11-01
- 特斯拉晒出 Cybercab 实车,据称部分组件已进入量产状态11-01
- AMD 承认 Zen 5 处理器存在 RDSEED 缺陷,将通过微码更新修复11-01
- 吉利汽车10月销量超30万辆破单月纪录,银河提前达成年销百万目标11-01
- 丰田推出Kids Mobi自动驾驶概念车:专为儿童打造,还能陪你聊天11-01
- 蔚来10月新车交付首超4万台!连续三个月创历史新高11-01
- 速度创纪录!神舟二十一与中国空间站组合体完成自主快速交会对接11-01
- 第7次“太空会师”,神舟二十一号航天员乘组顺利进驻中国空间站11-01
- 苹果第五款 AirPods 有望 2026 年登场,内置摄像头、配 AI 功能11-01
- CounterPoint:AI 手机不到 2 年全球累计出货量破 5 亿台11-01
- iFixit 拆解苹果 M5 iPad Pro:已预留前置双摄空间11-01
- 内置 15000 毫安时电池,酷比魔方 Ultra Pad 平板海外发布11-01
- 微软承认 Win11 十月可选更新存在BUG:任务管理器成“内存刺客”11-01
- 部分 Win11 25H2 反馈微软 10 月更新 BUG:搜索成“无字天书”11-01
- 时隔 14 年重启:ICANN 官宣 2026 年 4 月开放新顶级域名申请11-01
- 独家支持“HDR Vivid 动图”,鸿蒙版微博 App 获 15.10.0 版更新11-01
- 消息称《使命召唤》电影已敲定导演与编剧,《黄石》主创加盟11-01
- vivo WATCH GT 2 智能手表已支持开通移动 / 联通 eSIM 服务11-01
- 何小鹏曾找罗永浩做飞行汽车负责人11-01
- 谷歌Chrome浏览器Canary测试版整合Deep Search和Nano Banana11-01
- 影驰联盟 B650M Wi-Fi 黑武士PLUS主板图赏:硬核「黑武士」再临11-01
- 英伟达发布BlueField-4 DPU:集成64核Arm CPU,支持800G网络10-29
- 苹果供应商Skyworks和Qorvo合并,打造220亿美元射频芯片巨头10-29
- 英伟达斥资 10 亿美元入股诺基亚,后者股价应声大涨 22%10-29
- 集邦咨询解读 8.6 代线 OLED 两大阵营10-29
- 视频会议平台Zoom CEO袁征:AI助手有望让我们“告别”五天工作制10-29
枣庄生活网